Как выполнить карман-обманку с листочкой
Порой на конструкторском уровне модели одежды декораторы прибегают к очень интересному варианту декора. Это карман-обманка, который не имеет внутренней части и используется лишь как украшение.
Какие бывают разновидности пластиковых окон и что выбрать по стоимости
Процесс выполнения
- Выполнить разметку грядущего места расположения. Для этого проведите горизонтальную линию и по ней постройте рамку необходимого размера.
- После требуется закрепить материал. С обратной стороны приутюживаем отрез дублерин или флизелин, который станет выступал за контуры рамки на 1–1,5 см.
- Выполнить компонент листья.
- Выполнить деталь подзора. Для его изготовления берите отрезок ткани, длина которого равняется длине рейки, а ширина равняется четырем ширинам рамки.
- Закрепить деталь рейки и подзора дублирующим материалом с помощью утюга.
- Обработать края подзора.
- Рисуем по самому центру рамки линию и ложим на нее лицевой стороной вниз листочку.
- Приметать рейку к главной детали.
- Выполнить соединительный шов.
- Ложим подзор поэтому, чтобы выше линии пришивания расположилось две третьих материала.
- Выполнить разрез.
- Отвернуть наизнанку подзор.
- Прометать линию шва.
- Выполнить наметку подворота рейки.
- Отвернуть рейку по линии наметки на изнанку.
- Заутюжить место сгиба.
- Выполнить предварительную наметку контура.
- Выполнить облицовочную строчку.
С втачной листочкой
Листочка — это название детали, оформляющей вход в карман. Она бывает нескольких видов. Для начала мы рассмотрим пошив кармана с втачными концами.
Прежде всего необходимо наметить место будущего кармана. Для этого мелком нужно нарисовать четыре линии в форме прямоугольника. Длина и ширина листочки, как правило, индивидуальна, в изделиях для взрослых длина варьируется от 12 до 16 см, ширина может быть от 2 до 5 см. В данном примере длина — 12,5 см, ширина — 2,5 см.

Далее приступим к раскрою деталей кармана. Листочка (на рисунке 1) — прямоугольник, сложенный пополам, длина 12 см + 4 см припуска (по 2 см с каждой из сторон), т. е. 16 см, ширина 5 см (2,5 в сложенном виде) + припуск 3 см, т. е. 8 см.
Две подкладки кармана — верхняя и нижняя (на рисунке 2,3), длина равна длине входа в карман 16 см в крое, глубина такая, чтобы удобно было засунуть туда руку. Делаются зеркально.

Далее нужно выкроить долевик — деталь для дополнительного укрепления кармана, которая не позволит карману расползаться. Долевик бывает на тканевой и клеевой основе. Делаем его на 4 см шире и на 4 см длиннее, чем вход в карман. Его нужно приделать с изнаночной стороны изделия и приколоть булавками.

Следующие шаги: обметать листочку по краям, соединить верхнюю подкладку с листочкой с помощью строчки швом шириной 5 мм, нарисовать мелком вход в карман на листочке длиной 12 см, шириной 2,5, как показано на рисунках:



Затем прикладываем листочку с подкладкой к нижней линии, намеченной на изделии, строго по длине, от крестика до крестика. Закрепляем нитками или булавками и пристрачиваем листочку на машинке.


Нужно обязательно проверить, точно ли совпал шов с намеченной линией.
Теперь пришиваем вторую часть подкладки. Нарисуем на ней линию для соединения с верхней линией намеченного входа в карман:

Теперь нужно уложить подкладку на верхнюю линию входа в карман, совмещая крестики. Закрепить, затем настрочить.

Теперь займемся долевиком. Нужно подрезать лишние края и замерить длину и ширину строчек. Длина должна быть четко 12,5 см, ширина между строчек тоже должна совпадать во избежание образования пустот.

Далее очень ответственный этап: разрезать вход в карман аккуратно, по схеме с нарисованными уголками, уголки нужно разрезать с особой тщательностью. Вывернуть карман на изнанку. С изнаночной стороны нужно расправить уголки, тщательно их закрепить, поставить закрепки в начале и в конце строчки. Не забыть проверить отсутствие пустот и наплывов.




Сделаем отделочную строчку, чтобы притачать листочку. Аккуратно с подкладкой, нужно ее не зашить.

Далее соединим две части подкладки, они будут разного размера, нужно аккуратно приложить, отрезать лишнее и пристрочить, в зависимости от ткани можно и обметать.

И финальный этап: нужно сделать отделочную строчку по границам кармана.

Что имеем в результате:

Прорезной карман с листочкой. Обработка.
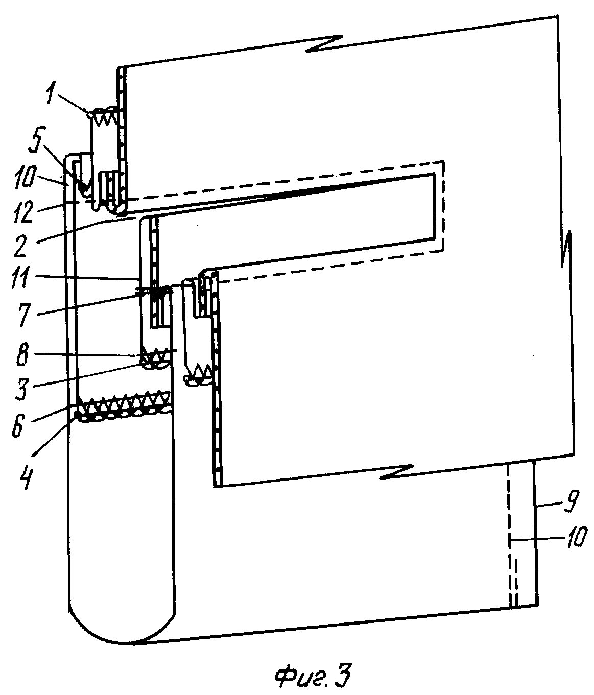
Продолжаем разговор по обработке прорезных карманов с листочкой.
Из предыдущей статьи вы узнали особенности построения деталей для выполнения прорезного кармана с втачной листочкой. Далее обработка кармана.
Последовательность обработки кармана с листочкой.
Разметка кармана на детали изделия.
На лицевой стороне основной детали изделия сначала мелом, а затем наметочными стежками нанести три прямые линии: линию входа в карман (по разметке), линию ширины листочки и на расстоянии 1,5 см. от нее – линию прикладывания обрезного края верхней мешковины.
Перпендикулярно к этим прямым наметить линии дд, ограничивающие длину входа в карман.

Приметывание верхней мешковины.
Верхнюю мешковину изнаночной стороной наложить на изнаночную сторону детали изделия так, чтобы ее край совпадал с линией разметки, а контрольные надсечки – с линиями, ограничивающими вход в карман. Приметать мешковину по всему контуру.

Заготовка листочки.
Листочку продублировать и сложив по линии сгиба изнаночной стороной вниз приутюжить.
Отметить по нижней части листочки ее ширину и сметать по намеченной линии.

Приметывание и притачивание листочки и нижней мешковины.
Заготовленную листочку наложить верхней стороной на лицевую сторону основной детали так, чтобы вся листочка расположилась вне рамки кармана.

При этом сметочный шов листочки нужно совместить с намеченной на основной детали линией входа в карман, а припуски на ширину шва по поперечным краям листочки расположить симметрично по отношению к рамке кармана.
Приметать и притачать листочку по линии входа в карман, таким образом, чтобы строчка не выходила за линии, ограничивающие длину входа.
Нижнюю мешковину лицевой стороной наложить на лицевую сторону основной детали, так чтобы контрольные надсечки совместились с линиями дд, ограничивающими вход в карман, а обрезной край мешковины был направлен в сторону листочки и заходил за линию разметки (ширины листочки) на 1,5 см.
Мешковину приметать и притачать к основной детали по линии разметки и строго по длине входа в карман.

ВАЖНО: нужно обязательно проверить (с изнанки) не смещены ли строчки относительно друг друга по длине. Для образования входа в карман основную деталь и верхнюю мешковину разрезать с изнанки посередине между строчками, не доводя разрез до концов строчек на 1 – 1,5 см
и закончить по наклонным рассечкам по направлению к ним
Для образования входа в карман основную деталь и верхнюю мешковину разрезать с изнанки посередине между строчками, не доводя разрез до концов строчек на 1 – 1,5 см. и закончить по наклонным рассечкам по направлению к ним.

Затем запас листочки и нижнюю мешковину перегнуть на изнаночную сторону основной детали через разрез кармана и направить в разные стороны.
Уголки, образованные наклонными рассечками, отогнуть наизнанку, выправить и закрепить двойной машинной строчкой на листочке.

ВАЖНО: чтобы выполнить эту операцию, основную деталь и верхнюю мешковину нужно отогнуть и нитки приметывания мешковины удалить. При утюжке швов под мешковины в упор к швам подложить плотную бумагу сначала с изнаночной стороны приутюжить листочку, затем верхнюю и нижнюю мешковины
При утюжке швов под мешковины в упор к швам подложить плотную бумагу сначала с изнаночной стороны приутюжить листочку, затем верхнюю и нижнюю мешковины.
После утюжки основную деталь отогнуть в сторону нижней мешковины, продольный и нижний поперечные края припуска на обработку листочки подогнуть на изнанку, наметать и настрочить у самого края на верхнюю мешковину.

В изделиях из плотной ткани края припуска листочки можно настрочить зигзагообразной строчкой без предварительного подгиба.
После нижнюю мешковину отогнуть на верхнюю, совместить их по краям, сметать и стачать по контуру. Срезы мешковины обметать.

Карман с втачной листочкой и наклонной линией входа обрабатывается так же, как и карман с вертикальной линией входа.

После предыдущей публикации мне посоветовали страничку с видео по обработке прорезного кармана в листочку. Не могу с вами не поделиться, тем более, что автор все очень понятно показывает и рассказывает.
Если видео не отображается, обновите страницу (F5), нажмите на треугольник в центре дважды и дождитесь загрузки файла.
Горизонтальное расположение входа в карман не рекомендуется выполнять рассмотренным способом. При таком способе обработки будет виден шов притачивания мешковины из-за неизбежного провисания листочки.
Для горизонтального расположения линии входа больше подходит способ обработки кармана с настрочной листочкой, который обязательно будет рассмотрен немного позже.
Советую подписаться на обновления блога, для того, чтобы быть в курсе событий.
Обработка кармана с листочкой
Для каждого вида обработка будет немного отличаться друг от друга, поэтому рассмотрим их по отдельности пошагово.
Вариация с настрочными краями
Для ее установки проводим подготовительные работы, как написано выше. Далее следуем изложенному ниже порядку действий.
- Заготовку планки укладывают открытым краем к линии прорезания кармана.
- Сверху помещают одну деталь внутренней части кармана.
- Прострачивают конструкцию, при этом начинают и заканчивают шов на уровне узких сторон листочки.
- Чуть выше линии разреза пристрачивают вторую внутреннюю часть.
- Разрезать карман.
- Внутреннюю часть заправить наизнанку.
- Соединить внутренние детали кармана.
- Выполнить отстрочку планки и кармана.
Вариация с втачными краями
Предварительный этап проводится тем же способом. Затем выполнить следующие действия.
- Листочку притачать к внутренней части кармана.
- Шов расправить и заутюжить.
- Пришить часть с листочкой и вторую внутреннюю часть по обеим сторонам разметки разреза.
- Выполнить разрезание ткани.
- Вывернуть детали кармана на изнаночную сторону.
- Расправить все элементы и сшить обе части, при этом закрепив концы листочки двойной строчкой.
- Отутюжить конструкцию.
Классификация карманов
Карманы являются неотъемлемой частью любого пальто.
Расположение определяется как фасоном пальто, так и особенностями фигуры.
Можно выделить два типа карманов: внешние и внутренние. Разница в том, с какой стороны, лицевой или изнаночной, они расположены.
Оба этих типа представлены одинаковыми разновидностями:
- Втачные. Чаще присутствуют на моделях спортивного стиля. Отлично выглядят на ткани с рисунком.
- Накладные. Настрачиваются на ткань. Могут быть одинарными или двойными, зависимости от толщины материала. При необходимости укрепляются прокладкой.
- Прорезные. На внешней стороне виден лишь особым образом обработанный вход в карман (вырез).
- Не прорезные. Карманы внутри шва. Чаще всего используются у моделей с фасонными линиями и швами. Направление которых, кстати, не влияет на технологию изготовления.
Как сделать карман с листочкой на молнии
Во многих изделиях листочка соседствует с застежкой-молнией. Многие знают, как выполнить эти элементы по отдельности. Но их совмещение может завести их в тупик. Для того чтобы не возникло такой неприятности, предлагаем разобраться в этом методе подробно.

Для работы вам потребуется: листочка, дополнительная ткань для внутренней части и молния нужной длины.
Процесс выполнения
- Начертить на лицевой стороне изделия рамку для работы.
- Выполнить элемент планки так, как описано выше.
- Продублировать участок кармана дополнительным материалом.
- Разместить в нужном месте деталь планки.
- Аккуратно притачать планку к изделию.
- Ко второй стороне притачать соответствующий край молнии.
- Выполнить соединительный шов.
- Разрезать рамку.
- Вывернуть элементы наизнанку и зафиксировать в нужном положении при помощи английских булавок.
- Стачать молнию и листочку.
- Выполнить декоративную отстрочку кармана.
- Притачать к оставленным припускам внутренние детали кармана.
- Конструкция готова к использованию.
Для неопытных рукодельниц, зачастую столкновение с такими мелочами может стать роковым. После испытанной неудачи немногие решатся повторить попытку. Но используя чужой опыт, можно избежать таких неприятностей. А повторяя одну и ту же операцию несколько раз, вы оттачиваете свое мастерство, с каждым разом становясь все ближе к совершенству. Поэтому при неудачах не стоит опускать руки. Даже маститые профессионалы иногда ошибаются. Просто воспринимайте это как данность, и удача улыбнется вам. Приятной творческой работы!
Как связать карман на кардигане, кофте спицами?
Женские солнечные очки лисички
Обработка кармана с листочкой
Для каждого вида обработка будет немного отличаться друг от друга, поэтому рассмотрим их по отдельности пошагово.
Вариация с настрочными краями
Для ее установки проводим подготовительные работы, как написано выше. Далее следуем изложенному ниже порядку действий.
- Заготовку планки укладывают открытым краем к линии прорезания кармана.
- Сверху помещают одну деталь внутренней части кармана.
- Прострачивают конструкцию, при этом начинают и заканчивают шов на уровне узких сторон листочки.
- Чуть выше линии разреза пристрачивают вторую внутреннюю часть.
- Разрезать карман.
- Внутреннюю часть заправить наизнанку.
- Соединить внутренние детали кармана.
- Выполнить отстрочку планки и кармана.
![]()
Вариация с втачными краями
Предварительный этап проводится тем же способом. Затем выполнить следующие действия.
- Листочку притачать к внутренней части кармана.
- Шов расправить и заутюжить.
- Пришить часть с листочкой и вторую внутреннюю часть по обеим сторонам разметки разреза.
- Выполнить разрезание ткани.
- Вывернуть детали кармана на изнаночную сторону.
- Расправить все элементы и сшить обе части, при этом закрепив концы листочки двойной строчкой.
- Отутюжить конструкцию.

Карман с листочкой
Сегодняшний человек не может представить собственную одежду без карманов. А ведь в минувшем заместо такого элемента применялись дополнительные аксессуары. За всю историю собственного существования эта деталь одежды заимела многие обличия. Однако самым привычным и многофункциональным считается прорезной карман. И Для того чтобы красиво оформить такой элемент, портными была изобретена специализированная деталь — листочка. Она собой представляет прямоугольную деталь, сложенную надвое, длина которой равна длине входного отверстия кармана. Кроме декоративной цели, она помогает закрепить стороны отверстия. Рассмотрим детальнее виды листья, ее установку и дополнительные штрихи.
Разметка прорезного кармана на ткани
Вначале давайте определим, как должен располагаться задний карман брюк. Самая частая ошибка, которую делают неопытные портные в том, что линию входа в карман размечают строго параллельно линии пояса. В некоторых случаях это допустимо, например, для детских брюк, но в большинстве случаев линия входа должна быть немного наклонена вниз от бокового шва к шву сидения. Этот наклон обеспечивает правильное положение линии входа, когда брюки будет надеты.
Чтобы определить точное положение этой линии, сделайте макет из картона и приложите к задней половинке брюк во время примерки. Подберите нужное положение и обведите контур кармана мелом. Таким простым способом, без лишних расчетов вы сможете точно определить, где и как должен располагаться прорезной карман.
Для того, чтобы сделать разметку прорезного кармана, вначале начертите мелом центральную линию, линию входа руки. Длина ее определяется по ширине кисти руки и в основном составляет 13-16 см. После этого отложите от центральной линии две параллельные линии на ширину обтачек, примерно 0,6-0,7 мм каждая, чтобы контур рамки в готовом виде был 1,2 — 1,4см. Для карманов куртки или пальто обтачки могут быть шире (1,1 — 1,3см).
Прорезной карман с листочкой
– Намечаем вход в карман. Длина кармана – это величина при которой удобно пользоваться карманом. Ширина листочки выбирается также индивидуально, в зависимости от модели. На данном примере длина входа в карман 12см, ширина 2,5мм.
– Выкраиваем детали кармана:
1. Листочка кармана. Длина в раскрое 12(длина в гот.виде) + 4 см припуски( по 2см с каждой стороны) = 16см.
Ширина листочки 2,5(ширина в гот.виде)*2 + 3см припуски(по 1,5 см с каждой стороны) = 8см
2. Верхняя подкладка кармана. Длина входа в карман в крое 16 + 7см
Таких детали 2 штуки, выкроенных зеркально, т.е. к левому и правому карману по одной.
3. Нижняя подкладка кармана. Выкраивается по форме верхней подкладки из основной ткани. 2 детали зеркально.
– Выкраиваем долевик – это дополнительная деталь, которая не даст входу в карман растянуться и предотвратит уголки кармана от расползания.
Долевик может быть как клеевым (дублерин), так и тканевым без клеевого слоя (х/б ткань). Выкраиваем его на 4 см больше входа в карман и на 4 см шире.
Устанавливаем долевик вдоль кармана, с ИЗНАНОЧНОЙ стороны. Закрепляем либо ниткой сметывания, либо иголочками.
- – Обметать листочку;
- – вложить верхнюю подкладку в листочку;
- – соединить листочку с верхней подкладкой машинной строчкой швом шириной 5мм;
– Наметить вход в карман на листочке, т.е. длина = 12см, ширина = 2,5см
– приложить листочку с подкладкой на лицевую сторону изделия, совмещая “крестик” на листочки с “крестиком” на изделии на нижнюю линию входа в карман. Приметать или закрепить иголочками, чтобы избежать сдвига детали.
– настрочить листочку точно от крестика по линии до крестика.
– ПРОВЕРКА! все ли совпало?
– также, как и в предыдущем шаге намечаем вход в карман
– укладываем нижнюю подкладку кармана на верхнюю линию наметки входа в карман на изделии, совмещая крестики. Приметать или закрепить иголочками.
– настрочить подкладку точно от крестика по линии до крестика.
– ПРОВЕРКА! все ли совпало?
– подрезаем долевик, чтобы не болталось лишнее
– Измеряем ширину и длину получившихся строчек. Длина должна быть четко одинаковая, а также уровень строчек должен вас удовлетворять, чтобы на лицевой стороне получился прямоугольник именно с прямыми углами. Также проверим ширину между строчек в начале, в середине и в конце и сравним с шириной листочки. Они тоже должны совпадать, чтобы после того как разрежем избежать пустот или наплывала из листочки.
– разрезаем вход в карман. Аккуратно! не испортите детали кармана!
– выворачиваем карман на изнаночную сторону
– с лицевой стороны расправьте карман, ровно расположите листочку и закрепите ее иголочками, либо приметайте
– с изнаночной стороны хорошенько поправляем уголочки, и очень аккуратно закрепляем, не забывая ставить закрепки в начале и конце строчки, а также наблюдаем за тем, чтобы не было наплывов и пустот в уголочках строчки!
– расправляя подкладку (чтобы не зашить ее!) выполняем отделочную строчку по шву притачивания листочки.
– стачиваем детали подкладки, если ткань сыпучая, то обметываем
- – выполняем отделочную строчку по концам кармана и шву притачивания нижней части подкладки.
- – вот такой карман у нас получился!
- ТВОРЧЕСКИХ УСПЕХОВ ВАМ
Как сделать карман с листочкой на молнии
Во многих изделиях листочка соседствует с застежкой-молнией. Многие знают, как выполнить эти элементы по отдельности. Но их совмещение может завести их в тупик. Для того чтобы не возникло такой неприятности, предлагаем разобраться в этом методе подробно.
Для работы вам потребуется: листочка, дополнительная ткань для внутренней части и молния нужной длины.
Процесс выполнения
- Начертить на лицевой стороне изделия рамку для работы.
- Выполнить элемент планки так, как описано выше.
- Продублировать участок кармана дополнительным материалом.
- Разместить в нужном месте деталь планки.
- Аккуратно притачать планку к изделию.
- Ко второй стороне притачать соответствующий край молнии.
- Выполнить соединительный шов.
- Разрезать рамку.
- Вывернуть элементы наизнанку и зафиксировать в нужном положении при помощи английских булавок.
- Стачать молнию и листочку.
- Выполнить декоративную отстрочку кармана.
- Притачать к оставленным припускам внутренние детали кармана.
- Конструкция готова к использованию.
Для неопытных рукодельниц, зачастую столкновение с такими мелочами может стать роковым. После испытанной неудачи немногие решатся повторить попытку. Но используя чужой опыт, можно избежать таких неприятностей. А повторяя одну и ту же операцию несколько раз, вы оттачиваете свое мастерство, с каждым разом становясь все ближе к совершенству. Поэтому при неудачах не стоит опускать руки. Даже маститые профессионалы иногда ошибаются. Просто воспринимайте это как данность, и удача улыбнется вам. Приятной творческой работы!
Как связать карман на кардигане, кофте спицами?
Женские солнечные очки лисички
Прорезной карман на молнии
Перед выполнением работы необходимо определиться, где будет деталь. На основании этого подготавливаем материал.
Что понадобится
Чтобы выполнить прорезной карман на молнии, понадобится следующее.
- Молния металлическая 15–18 см.
- Лоскут ткани для обтачки.
- Подкладочная ткань.
Как сделать карман
Работа выполняется на лицевой стороне изделия, определяем место расположения.
На ткани отмерить длину разреза. Провести прямую линию, отмечая начало и конец поперечными линиями. Рассмотрим пример для кармана на сумке с длиной 18 см.
Лоскут обтачки на 3 см длиннее детали, ширина 4,5–5,5 см.
На лицевую сторону ткани накладываем обтачку, фиксируем булавками.
На обтачке отмечаем линию кармана и выполняем рамку. Ее ширина зависит от ширины молнии.
Линии соединить. Получается рамка-прямоугольник. По полученным линиям проложить машинную строчку.
По центральной линии делаем отверстие, разрезаем, не дорезая до краев примерно по 1–1,5 см. Делаем надсечки в углах рамки
Работаем осторожно, чтобы не задеть строчку.
Вывернуть обтачку наизнанку так, чтобы не видно было обтачки. Зафиксировать булавками и прометать вручную.
Получившуюся рамку проутюжить.
Как пришить молнию
Следующий этап работы — присоединение молнии к изделию.
- Положить застежку под нижнее полотно с изнаночной стороны и приметать.
- Швейной машиной по краю рамки проложить строчку, отступить от края 2–3 мм.
Как пришить мешковину
- Из подкладочной ткани вырезать два прямоугольных лоскута равных ширине обтачки, длина по желанию.
- Приметать мешковину к обтачке с молнией, прострочить.
- Те же действия выполнить и со вторым лоскутом.
Как пошить своими руками открытый карман в шве: мастер-класс
Открытый карман в шве – идеальное решение для демисезонного пальто. С пошивом изделия по приведенной инструкции справится даже начинающая рукодельница.
Порядок работы.
Чтобы вшить два кармана в пальто необходимо выкроить 4 детали мешковины (по 2 на каждый карман) по выбранной вами выкройке. На изнаночной стороне изделия делаем метки для притачивания мешковины, отмечая начало и конец будущей машинной строчки.
Обметываем прямые срезы мешковин и припусков в области вшивания карманов. Детали мешковин прикалываем с помощью портновских булавок к деталям переда и спинки, совмещая их по нанесенным меткам. Притачиваем внутренние детали карманов к припускам на расстоянии примерно 1 мм от линий швов.
Заутюживаем мешковины карманов. Складываем детали переда и спинки пальто лицевыми сторонами внутрь и стачиваем, не затрагивая вход в карманы, как показывает схема ниже.
Разутюживаем припуски шва. Отворачиваем мешковины кармана вперед и скалываем их портновскими булавками в нескольких местах, тщательно совмещая контуры деталей. Приметываем и прострачиваем мешковины, убираем наметку.
Вдоль края выкройки прокладываем дополнительную машинную строчку. Тщательно отутюживаем изделие. Открытые карманы в швах пальто готовы. Если все сделано верно, карманы на изделии практически незаметны.С припусками вразутюжку. Для пошива одежды в лаконичном минималистическом стиле можно использовать способ обработки кармана в шве с припусками вразутюжку. Рассмотрим самый простой вариант исполнения изделия с карманом в подобной технике.
Порядок работы.
Начинаем работу с конструирования кармана. Его форма и глубина зависит исключительно от ваших пожеланий, вход в карман при этом должен составлять не менее 13 см. Места входа в карман на изделии обязательно отмечаем засечками на припусках основных деталей. Для того, чтобы изделие хорошо держало форму, припуски в области кармана обрабатываем флизелином на клеевой основе. Для этого выкраиваем полоски необходимого размера и приутюживаем их в область припусков до приклеивания флизелина.
От входа в карман отступаем 4 см по боковому шву. Строим выкройку и вырезаем детали мешковины, закладывая необходимые припуски.
Детали мешковины и основной ткани складываем лицевыми сторонами внутрь и скрепляем портновскими булавками. Притачиваем мешковины к боковым швам до начала припусков.
На пришитой к передней части изделия мешковине ставим надсечки: делаем надрез ножницами по припуску бокового шва до конечных точек пристрачивания кармана. Надсекаем кончики мешковин ножницами. Складываем детали лицевыми сторонами друг к другу, скрепляем булавками и стачиваем до надсечек. Срезы сшитых мешковин обметываем по всему периметру, причем надрезанные кончики загибаем таким образом, чтобы они попали в обметку. Таким образом можно спрятать все ненужные обрезки ткани и ниток и сделать внутреннюю часть кармана максимально аккуратной.
Боковые срезы изделия обметываем на машинке по отдельности. Скалываем булавками и стачиваем в два приема боковой шов: до места входа в карман и после него. Разутюживаем с паром боковые швы в разные стороны, а карманы заутюживаем на перед. Переворачиваем карман и ставим закрепки в местах ранее надрезанных припусков.
Стильный и совершенно незаметный карман с припусками вразутюжку готов!Карман на молнии в шве. Карманы на молнии в простых и рельефных швах очень красиво смотрятся на верхней одежде, в том числе стеганых плащах и жилетах. Сшить такое изделие можно достаточно быстро, несмотря на кажущуюся сложность.
После построения выкройки всех сшиваемых деталей выполняем основной шов, в который будет включен карман, оставив свободным участок необходимой длины для его входа. В заданное место вшиваем молнию в закрытом виде, бегунок должен находиться на лицевой стороне изделия. Края молнии аккуратно прячем с изнаночной стороны. Притачиваем сшитую заранее мешковину кармана из основной ткани и плащевки рядом с молнией.
Обметываем мешковину и припуски. Часть кармана из плащевки пристрачиваем таким образом, чтобы при открытой молнии была видна только основная ткань. К другой части молнии притачиваем мешковину из основной ткани, тщательно совмещая все детали кармана. На краях молнии делаем закрепки. Отутюживаем изделие. Карман в шве на молнии готов!
Как пошить своими руками открытый карман в шве: мастер-класс
Открытый карман в шве – идеальное решение для демисезонного пальто. С пошивом изделия по приведенной инструкции справится даже начинающая рукодельница.
Порядок работы.
Чтобы вшить два кармана в пальто необходимо выкроить 4 детали мешковины (по 2 на каждый карман) по выбранной вами выкройке. На изнаночной стороне изделия делаем метки для притачивания мешковины, отмечая начало и конец будущей машинной строчки.
Обметываем прямые срезы мешковин и припусков в области вшивания карманов. Детали мешковин прикалываем с помощью портновских булавок к деталям переда и спинки, совмещая их по нанесенным меткам. Притачиваем внутренние детали карманов к припускам на расстоянии примерно 1 мм от линий швов.
Заутюживаем мешковины карманов. Складываем детали переда и спинки пальто лицевыми сторонами внутрь и стачиваем, не затрагивая вход в карманы, как показывает схема ниже.
Разутюживаем припуски шва. Отворачиваем мешковины кармана вперед и скалываем их портновскими булавками в нескольких местах, тщательно совмещая контуры деталей. Приметываем и прострачиваем мешковины, убираем наметку.
Вдоль края выкройки прокладываем дополнительную машинную строчку. Тщательно отутюживаем изделие. Открытые карманы в швах пальто готовы. Если все сделано верно, карманы на изделии практически незаметны.
С припусками вразутюжку.
Для пошива одежды в лаконичном минималистическом стиле можно использовать способ обработки кармана в шве с припусками вразутюжку. Рассмотрим самый простой вариант исполнения изделия с карманом в подобной технике.
Порядок работы.
Начинаем работу с конструирования кармана. Его форма и глубина зависит исключительно от ваших пожеланий, вход в карман при этом должен составлять не менее 13 см. Места входа в карман на изделии обязательно отмечаем засечками на припусках основных деталей. Для того, чтобы изделие хорошо держало форму, припуски в области кармана обрабатываем флизелином на клеевой основе. Для этого выкраиваем полоски необходимого размера и приутюживаем их в область припусков до приклеивания флизелина.
От входа в карман отступаем 4 см по боковому шву. Строим выкройку и вырезаем детали мешковины, закладывая необходимые припуски.
Детали мешковины и основной ткани складываем лицевыми сторонами внутрь и скрепляем портновскими булавками. Притачиваем мешковины к боковым швам до начала припусков.
На пришитой к передней части изделия мешковине ставим надсечки: делаем надрез ножницами по припуску бокового шва до конечных точек пристрачивания кармана. Надсекаем кончики мешковин ножницами. Складываем детали лицевыми сторонами друг к другу, скрепляем булавками и стачиваем до надсечек. Срезы сшитых мешковин обметываем по всему периметру, причем надрезанные кончики загибаем таким образом, чтобы они попали в обметку. Таким образом можно спрятать все ненужные обрезки ткани и ниток и сделать внутреннюю часть кармана максимально аккуратной.
Боковые срезы изделия обметываем на машинке по отдельности. Скалываем булавками и стачиваем в два приема боковой шов: до места входа в карман и после него. Разутюживаем с паром боковые швы в разные стороны, а карманы заутюживаем на перед. Переворачиваем карман и ставим закрепки в местах ранее надрезанных припусков.
Стильный и совершенно незаметный карман с припусками вразутюжку готов!
Карман на молнии в шве.
Карманы на молнии в простых и рельефных швах очень красиво смотрятся на верхней одежде, в том числе стеганых плащах и жилетах. Сшить такое изделие можно достаточно быстро, несмотря на кажущуюся сложность.
После построения выкройки всех сшиваемых деталей выполняем основной шов, в который будет включен карман, оставив свободным участок необходимой длины для его входа. В заданное место вшиваем молнию в закрытом виде, бегунок должен находиться на лицевой стороне изделия. Края молнии аккуратно прячем с изнаночной стороны. Притачиваем сшитую заранее мешковину кармана из основной ткани и плащевки рядом с молнией.
Обметываем мешковину и припуски. Часть кармана из плащевки пристрачиваем таким образом, чтобы при открытой молнии была видна только основная ткань. К другой части молнии притачиваем мешковину из основной ткани, тщательно совмещая все детали кармана. На краях молнии делаем закрепки. Отутюживаем изделие. Карман в шве на молнии готов!

![§ 8. обработка карманов [1973 антонов и.а., березина м.н. - технология изготовления мужских и детских пальто]](http://leather-school.ru/wp-content/uploads/c/4/1/c41da5f6a0fec84acba18321a75047fa.jpeg)




























