Виды прорезных карманов.
Доброго времени суток, уважаемые читатели блога! Итак, прорезные карманы! Подошло время поговорить и о них.
Прорезные карманы можно встретить на всевозможных видах одежды. На юбках и на брюках, на платьях и на костюмах, на выполненных: из тонкого материала блузе и куртке из грубой, толстой ткани. В общем, куда ни кинь взглядом, обязательно встретишь прорезной карман.
Прорезные карманы не очень разнообразны формами. Овальное, прямоугольное (прорезные карманы «в рамку», прорезные карманы «в щель» и с листочкой), ромбовидное (прорезные карманы с листочкой) вот и всё виды «телосложения», которые могут «позволить себе» прорезные карманы.
Направление входа в прорезной карман для одних видов прорезных карманов (прорезные «в рамку», «в кант», «в щель, с листочкой) может быть любым: вертикальным, горизонтальным и под наклоном к вертикальным или горизонтальным линиям. Для других, например, прорезные карманы с клапаном, размещение их на изделии в вертикальном положении будет неуместным. Словом, всё зависит от вида выполняемого прорезного кармана.
Прорезной карман с клапаном – это классическая обработка карманов многих изделий, от заднего или бокового кармана брюк до карманов пиджака, пальто. Технология изготовления прорезных карманов с клапаном, с листочкой, в рамку и даже на молнии примерно одинаковая. Некоторые отличия обработки таких карманов имеются, но освоить их легко, если научиться правильно, делать прорезной карман в рамку или карман с клапаном с одной обтачкой.
Виды листочки
Такая конструкция служит для обработки края кармана одежды, его усиления и декорирования. Листочка(планка) может быть прямоугольной или фигурной формы. По методу вшивания можно выделить два варианта листочки.
С втачными концами
Этот вид более прост в установке и поэтому лучше подходит для начинающих мастериц. При данном способе все швы остаются с изнаночной стороны. А неширокая планка проходит параллельно нижнему слою.

С настроченными концами
Он чаще всего применяется для верхней одежды. Визуально от первого эта вариация отличается внешними отделочными строчками с нескольких сторон. А также способом их изготовления. Такая планка зачастую имеет достаточную ширину для установки фиксирующего механизма: петли для пуговицы, кнопки и так далее.

Как сделать карман с листочкой
При пошиве кармана с листочкой следует выполнить несколько этапов.
Изготовление листочки
Первым делом изготавливается сама деталь.
- Для этого из ткани вырезается прямоугольная заготовка. Обычно ее размеры равняются 20Х10 см.
- Перегибаем пополам деталь изнаночной стороной кверху.

Выворачиваем на лицо и хорошенько утюжим.
Внутренняя часть
Далее готовим внутреннюю часть кармана. Для этого из дополнительного материала выполняем две заготовки. Для выкройки прикладываем к листу бумаги руку и обводим границу ладони.

Разметка
Затем размечаем место расположения кармана.
- На лицевой стороне портняжным мелом отмечаем, где будет находиться данная деталь.
- Измеряем длину готовой планки.
- Чертим отрезок по размеру планки.
Затем приступам к процессу монтажа конструкции. Рассмотрим подробно, как это происходит.
Карман в шве
Из всех видов карманов этот считается самым легким в исполнении. Достаточно вырезать из основной или подкладочной ткани внутреннюю часть детали и с изнанки пришить к отверстию, оставленному в боковом шве. Но и здесь существуют варианты усложнения с целью дополнительного декорирования одежды. Если посмотреть на фото ниже, то видно, что простой, казалось бы, карман в шве украшен вставкой из контрастной ткани.

Этот вариант можно использовать в женских или детских вещах.
В статье мы познакомили читателей с разными видами данных деталей одежды, технологией обработки карманов, разнообразием форм и способов украшения. Если вы будете шить самостоятельно одежду, то не забудьте, что карманы несут не только функциональную ценность, но и играют эстетическую роль. Ведь красиво сшитые карманы только украсят вещь. Так что фантазируйте и добавляйте красивые детали, используя как накладные, разной формы детали, так и прорезные.
Как вшить молнию в куртку?
На левую деталь переда укладываем лицом к лицу молнию, пластрон и подборт (предварительно соединив его с обтачкой низа). Одной строчкой соединяем все эти детали. Хочу особенно остановиться на этом месте. Очень легко это написать в двух предложениях. Но очень нелегко это делается. Я сшила уже кучу курток, и до сих пор дрожу, когда доходит дело до молнии. А это потому, что требует большой внимательности и кропотливости, пока укладываешь эти детали друг на друга. Мне лень прошивать-наметывать, так как это время лишнее, но может именно поэтому я и мучаюсь.
Второй момент. От низа куртки надо отступить 1 см и наложить молнию. И когда вы вывернете на лицевую сторону, молния не будет выпирать снизу.
А вообще-то надо просто приспособиться. Я желаю вам, чтоб получилось с первого раза, как надо! Тяжело, зато как красиво потом!
На правой стороне переда молнию пришиваем таким же образом. Следим, чтоб при закрытии молнии совпадали линии выстегивания на куртке и ровная линия низа. При необходимости корректируем.
Виды листочки
Такая конструкция служит для обработки края кармана одежды, его усиления и декорирования. Листочка(планка) может быть прямоугольной или фигурной формы. По методу вшивания можно выделить два варианта листочки.
С втачными концами
Этот вид более прост в установке и поэтому лучше подходит для начинающих мастериц. При данном способе все швы остаются с изнаночной стороны. А неширокая планка проходит параллельно нижнему слою.
С настроченными концами
Он чаще всего применяется для верхней одежды. Визуально от первого эта вариация отличается внешними отделочными строчками с нескольких сторон. А также способом их изготовления. Такая планка зачастую имеет достаточную ширину для установки фиксирующего механизма: петли для пуговицы, кнопки и так далее.
Как сделать карман с листочкой
При пошиве кармана с листочкой следует выполнить несколько этапов.
Изготовление листочки
Первым делом изготавливается сама деталь.
- Для этого из ткани вырезается прямоугольная заготовка. Обычно ее размеры равняются 20Х10 см.
- Перегибаем пополам деталь изнаночной стороной кверху.

Выворачиваем на лицо и хорошенько утюжим.
Внутренняя часть
Далее готовим внутреннюю часть кармана. Для этого из дополнительного материала выполняем две заготовки. Для выкройки прикладываем к листу бумаги руку и обводим границу ладони.

Разметка
Затем размечаем место расположения кармана.
- На лицевой стороне портняжным мелом отмечаем, где будет находиться данная деталь.
- Измеряем длину готовой планки.
- Чертим отрезок по размеру планки.
Затем приступам к процессу монтажа конструкции. Рассмотрим подробно, как это происходит.
Прорезной карман с втачной листочкой
Прорезной карман в втачной листочкой используется в одежде классического стиля, особенно в жакетах и пальто, но в отличие от накладной листочки, требует некоторого опыта в шитье. Но «дорогу осилит идущий» и, надеюсь, что этот материал сподвигнет тех, кто еще боится прорезных карманов, хотя бы попробовать)))))
Разберем на примереверхнего кармана для платочка в классическом ЖАКЕТЕ, который я недавно сшила для дочери. Как я уже отмечала в предыдущем , прорезные карманы обрабатываются после обработки вытачек и рельефов, но до соединения боковых швов, поэтому, на момент обработки кармана полочка должна выглядеть как на фото1.

Для обработки этого кармана необходимо (фото2): — выкроить и обработать листочку, для втачной листочки я выкраиваю прямоугольник шириной, равной удвоенной ширине листочки в готовом виде и длиной входа в карман с припусками на швы. Деталь дублирую флизелином и приутюживаю, перегнув её вдоль пополам;— выкроить две мешковины: в толстых пальтовых и костюмных тканях — из подкладочной ткани, в более тонких тканях, как в моем случае, одна из мешковин может быть выкроена из основной ткани и потому заменяет подзор; — в остальных случаях выкроить подзор — эта деталь выглядывает в готовом кармане, поэтому её делают из основной ткани в виде прямоугольника шириной, равной ширине и длине листочки в готовом виде с припусками на швы 1−1,5 см по всем сторонам, если листочка наклонная, как в моем случае, то припуски по длине делают до 3 см; — выкроить из дублирующего материала (флизелин, дублирин) долевик шириной, равной удвоенной ширине готовой листочки, длина должна быть такой, чтобы каждый конец долевика выходил за готовую листочку на 4−5 см. Долевик (от слова долевая нить) предохраняет вход в карман от растяжения в процессе эксплуатации, а также стабилизирует ткань, что облегчает процесс обработки. Итак, приступим: 1.Наметить место расположения кармана четырьмя меловыми линиями: двумя длинными, равными длине готовой листочки, и двумя короткими, ограничивающими вход в карман. Для разметки использую исключительно обычные обмылки, на некоторых фото это видно.

2.Наметить на листочке линию притачивания, листочку приколоть, направляя её вниз, а затем притачать к полочке точно по размеченной линии.

3. Мешковину-подзор из основной ткани приколоть лицевой стороной к лицевой стороне полочки, направляя её вверх, а затем притачать точно по размеченной линии, с изнаночной стороны строчки должны быть равны и параллельны. Расстояние между строчками должно быть равно ширине листочки в готовом виде. Обязательно измерьте его ДО разрезания входа в карман!!!

4. Разрезаем вход в карман со стороны долевика точно посередине между строчками, к концам строчек на уголок, не доходя до конца строчек около 1 мм. При этом разрезаем только ткань полочки, не захватывая мешковины и листочки.
мешковину из подклада

6. Выворачиваем детали мешковины через прорезь на изнаночную сторону, оставив листочку с лица полочки, уголки выправляем.
Всем удачных пошивчиков и уверенности в себе!!!
https://youtube.com/watch?v=iZmZ3M6toWg
Прорезной карман с накладной листочкой как сшить

Привет, на фото прорезной карман с накладной листочкой. Часто такие делают на верхней одежде, я вот тоже делаю. И заодно сделала пошаговый мастер класс.
Листочка — прямоугольник 20 см длиной, 10 шириной; в готовом виде 17 на 4. Размеры могут быть и другими.
Листочку дублирую, сгибаю и соединяю концы на машинке. У листочки на фото часть припусков высечена, чтобы при выворачивании не было толстых краев.


Две мешковины кармана. Ширина линии входа в карман 20 см. Одна мешковина короче другой на 2,5 см, на фото видно.
Чтобы мешковины хорошо сошлись при сборке, большая должна в начале (от линии входа в карман я имею в виду) быть прямоугольной. Т.е. верх и низ отходят от входа в карман под прямым углом.

Отмечаю линию кармана на лицевой стороне. Измеряю длину готовой листочки и откладываю это расстояние на линии.



Пришиваю листочку. Накладываю мешковину ту что подлиннее. Отмечаю на мешковине мелом линии — продолжение концов листочки. Пришиваю ровно от и до этих отметок.



Сверху на листочку накладываю меньшую мешковину.

Здесь хочу показать, что сколола мешковину с листочкой.




Начертила линии разреза

Разрезаю. Подхожу к самым концам строчек, аккуратно, чтобы не повредить строчки.

Выворачиваю в разрез мешковины, отутюживаю. Заутюживаю уголки разрезов. На фото изнанка.

Вот такое лицо, если отвернуть.


Пришиваю уголки к мешковине.

Соединяю мешковины машинной строчкой.

Переворачиваю на лицевую сторону.


Прострачиваю по краям листочки. На конце, который свободный, делаю хорошие закрепки.
Карман с листочкой
Современный человек не может представить свою одежду без карманов. А ведь в прошлом вместо этого элемента использовались дополнительные аксессуары. За всю историю своего существования данная деталь одежды заимела многие обличия. Но самым привычным и универсальным является прорезной карман. И для того чтобы украсить этот элемент, портными была изобретена специальная деталь — листочка. Она представляет собой прямоугольную деталь, сложенную пополам, длина которой равна длине входного отверстия кармана. Помимо декоративной цели, она помогает укрепить стороны отверстия. Рассмотрим подробнее виды листочки, ее установку и дополнительные штрихи.
Как сделать карман с листочкой
При пошиве кармана с листочкой следует выполнить несколько этапов.
Изготовление листочки
Первым делом изготавливается сама деталь.
- Для этого из ткани вырезается прямоугольная заготовка. Обычно ее размеры равняются 20Х10 см.
- Перегибаем пополам деталь изнаночной стороной кверху.

Выворачиваем на лицо и хорошенько утюжим.
Внутренняя часть
Далее готовим внутреннюю часть кармана. Для этого из дополнительного материала выполняем две заготовки. Для выкройки прикладываем к листу бумаги руку и обводим границу ладони.

Разметка
Затем размечаем место расположения кармана.
- На лицевой стороне портняжным мелом отмечаем, где будет находиться данная деталь.
- Измеряем длину готовой планки.
- Чертим отрезок по размеру планки.
Затем приступам к процессу монтажа конструкции. Рассмотрим подробно, как это происходит.
Красиво шить не запретишь!
Карманы, Мастер-класс, Техника шитья
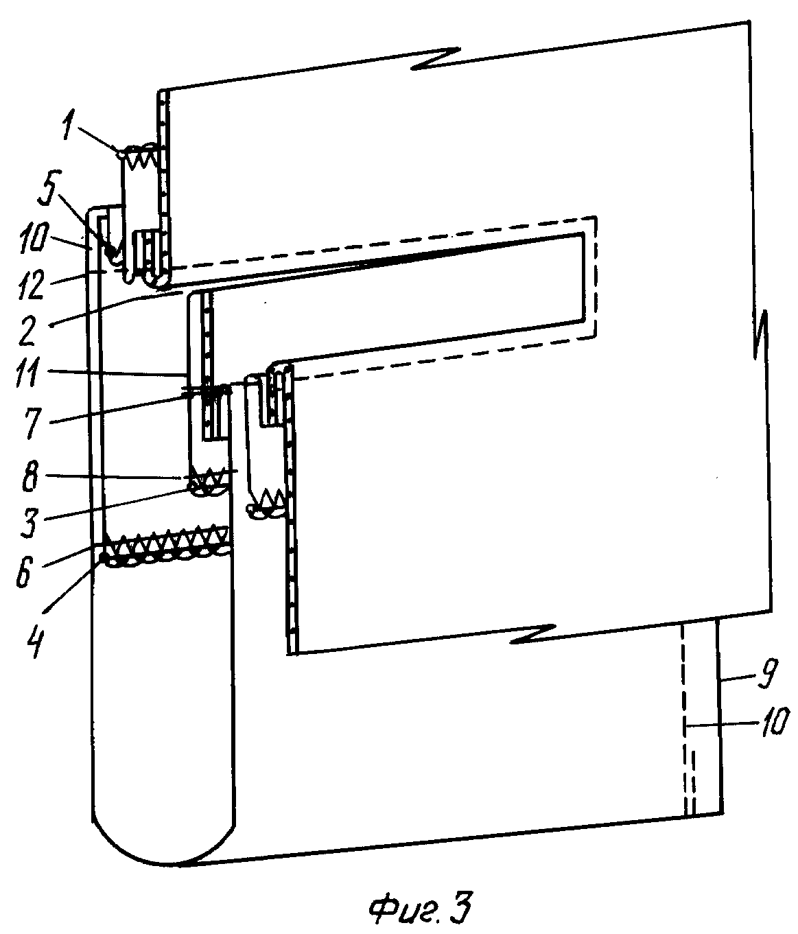
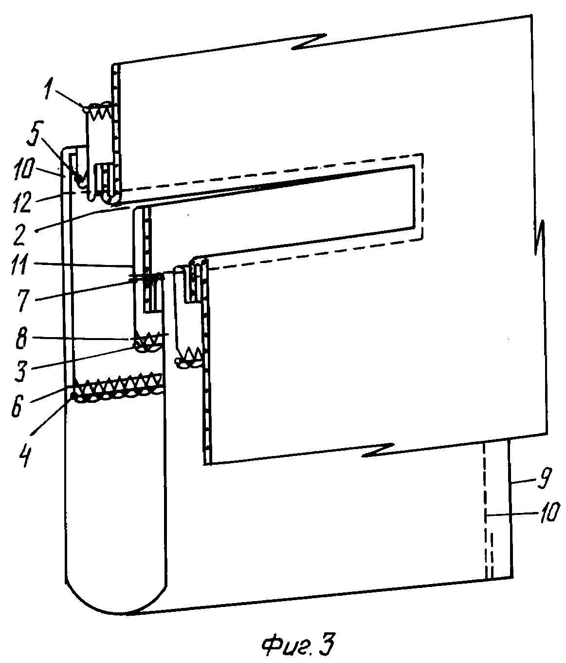
Последовательность обработки прорезного кармана “в рамку”
Из предыдущей статьи, вы узнали, как построить и выкроить детали кармана. Сегодня, рассмотрим один из способов обработки кармана ” в рамку”.
Разметка кармана на основной детали
На лицевой стороне детали, где будет располагаться карман, мелом, а лучше намёточными стежками, параллельно ранее намеченной линии входа в карман нан
есем две прямые линии на расстоянии друг от друга, равном удвоенной ширине рамки – ав.
Под прямым углом к этим линиям через крайние точки входа в карман (А и Б) намечаем прямые дд. Прямые дд – ограничивают длину входа в карман.
Для наглядности я использую нитки контрастного цвета.
Примётывание верхней мешковины
На изнаночную сторону детали накладываем верхнюю мешковину изнаночной стороной, так, чтобы верхний край мешковины проходил на 1,0 см. выше верхней линии разметки кармана, а припуски на ширину шва по боковым срезам располагались симметрично рамке.
Примётываем мешковину.
Приметывание и притачивание обтачек
Верхнюю и нижнюю обтачки перегибаем по линиям сгиба изнаночной стороной внутрь и приутюживаем.
Заготовленные обтачки накладываем на лицевую сторону основной детали сгибами к линиям разметки кармана, а срезами – навстречу друг к другу. Приметываем и притачиваем по намеченным линиям.
Примётывать обтачку нужно не точно по разметке, а отступив от нее 0,1 см, чтобы позже строчить по намеченной линии, не задевая нитки намётывания.
После того, как вы приметаете и притачаете верхнюю обтачку, лучше приколоть ее срез к основной ткани, чтобы нечаянно не захватить обтачку при притачивании нижней обтачки.
Важно: нужно следить, чтобы строчки не выходили за пределы рамки, иначе карман не получится!
После притачивания проверяем с изнаночной стороны, не смещены ли строчки относительно друг друга по длине.
Для образования входа в карман разрезаем основную деталь и мешковину с изнанки посередине между строчками.
Разрез нужно начать от середины в обе стороны, не доводя до концов строчек на 1,0-1,5 см. и закончить наклонными рассечками по направлению к строчкам.
Рассечки также не должны доходить до конца строчек на 0,1 см.
После этого запасы обтачек нужно перегнуть через разрез кармана, выворачивая на изнаночную сторону основной детали и направляя срезы верхней обтачки – вверх, а нижней – вниз.
Образованные рассечками уголки, выправляем, отгибаем и закрепляем на обтачках двойной строчкой, перпендикулярно к линии разреза.
Сгибы обтачек смётываем крестообразными или косыми стежками, удаляем нити примётывания мешковины.
Рамку кармана проутюживаем с изнаночной стороны.
После утюжки срез нижней обтачки подгибаем на изнанку на 1,0 см., намётываем на мешковину и настрачиваем у самого сгиба.
Если обтачки выкроены из плотной ткани, то срез нижней обтачки можно обметать и настрочить, для уменьшения толщины шва.
Примётывание и притачивание нижней мешковины
Нижнюю мешковину накладываем на верхнюю лицевыми сторонами внутрь, уравниваем срезы, смётываем и стачиваем со стороны верхней мешковины, отгибая основную деталь, шириной шва от 0,75 до 1,5 см.
В верхней части мешковины шов стачивания должен подходить вплотную к шву притачивания обтачки! Срезы мешковин обмётываем.
Прорезной карман “в рамку” готов!
Вид кармана с изнаночной стороны.
Скоро расскажу о необычном и простом способе обработки кармана “в рамку”. Следите за выпусками.
С пожеланиями удачи, Елена Красовская
Это интересно:
- Как обработать низ изделия и рукава.18…
- 18 способов обработки низа изделия и…
- Необычный накладной карман для пальто и…
- Шьём вещь со сборкой на нитку-резинку и……
- Как сшить детскую шапку с «ушками». Шьём…
- Как сшить трикотажное платье за пару часов
Клапан
Подробнее о том, как работать с клапаном будущего изделия. Как его правильно разметить, и что делать с тканью, чтобы пришивалась очень ровно?

Намётка и утюжка деталей
Выбрали форму самого изделия и верхней его крышечки. Затем лучше использовать специальную бумагу, при желании можно взять обычные листочки. Само изделие не такое большое, и поэтому подойдут листки из тетради, очень удобно делать чертёж на листе в клетку.
Нарисовали форму и размеры, которые подходят по модели. Затем необходимо всё это перенести на ткань. Просто вырезать готовые чертежи, приложить и обвести маркером для шитья. Если такого не оказалось под рукой мастерицы часто используют небольшой кусочек мыла. Это и ткань не портит и линию хорошо видно, даже на светлой ткани. Но главное, избавиться от него далее будет намного проще и без пятен. Вырезали, и обязательно прогладили утюгом готовые детали. Только стараться не вытягивать углы ткани при помощи утюга, просто лёгкая глажка.

Выворачиваем на лицевую сторону
При соединении деталей можно совместить их лицевыми сторонами, но в этом случае далее необходимо будет вывернуть детали, и проутюжить места швов. Дополнительно нужно будет сделать припуски для швов примерно 0,5 см от каждого края. На этом расстоянии и прокладывать швы.

Утюжка и строчка налицо
Прошла очередная утюжка с лицевой стороны, и деталь получила свои чёткие очертания. Самое время украсить её дополнительной строчкой, но уже с лицевой стороны. Саму строчку желательно проложить на расстоянии всего 0,1 см от края.

Пошив кармана
Подготовка деталей
Выкраиваю детали. Листочку дублирую и заутюживаю по сгибу, подзор обметываю по одной длинной стороне.

Листочку дублирую клеевым материалом

На изнаночной стороне брючины место прорези кармана также проклеиваю.

Пришиваю листочку
На лицевой стороне размечаю место листочки

Провожу снизу линию прикладывания листочки для удобства. На листочке также отмечаю линии припусков.

Накладываю листочку сгибом вниз совмещая перекрестия линий.

Прокладываю строчку от одного перекрестия до другого.

Пришиваю подзор
К верхней линии на брюках накладываю подзор. На изнаночной стороне подзора я разметила линии для удобства совмещения. Припуски подзора я подколола, чтобы было лучше видно.

Накладываю подзор лицевой стороной к брюкам, совмещая перекрестия линий. Прокладываю строчку от одного перекрестия до другого.

Вот так получается

Делаю разрез входа в карман
С изнаночной стороны брючины делаю разрез посередине строчек притачивания. К краям разрез треугольником подходит к самым концам строчек.

Уголки ровно отутюживаю.

Выворачиваю листочку и подзор

Сначала выворачиваю подзор, приутюживаю.

С изнаночной стороны

Затем выворачиваю листочку, приутюживаю. Смотрю, чтобы листочка хорошо легла в боковые разрезы.

Вид с лицевой стороны.

Пришиваю нижнюю мешковину кармана
Отворачиваю подзор

и отгибаю припуск листочки. Подкалываю мешковину к припуску листочки как показано на фото ниже.

Прокладываю строчку на 1 мм от строчки притачивания листочки.

Отутюживаю мешковину.

Накрываю подзором.

Как выполнить прорезной карман с листочкой: мастер-класс + видео
15 февраля 2021 | Материал подготовила Юлия Деканова
Выполнение прорезных карманов с листочкой требует опыта , внимания и большой аккуратности.

Прорезные карманы с листочкой бывают декоративными и функциональными. При этом расположение листочки также может быть разным — направленным вверх или вниз.

Такие карманы предусмотрены в модели двубортного жакета из Burda 7/2015:
Бестселлер
- 1
- 2
- 3
- 4
В нашем подробном видеоуроке мы покажем на небольшом образце из костюмной ткани, как правильно выполнить карман с листочкой.
Шаг 1
Выкроить деталь листочки.
Продублировать деталь листочки.
Как правильно дублировать детали пальто и жакетов
Шаг 5
Сколите короткие срезы и стачайте, начав строчку от среза к сгибу детали листочки.
В начале и в конце строчки выполните закрепки.
Шаг 6
Срежьте уголки и подрежьте припуски до 7 мм.
Выверните деталь листочки на лицевую сторону.
Как выполнить накладной карман-кенгуру из трикотажа: мастер-класс + видео
Шаг 9
Выполните разметку с лицевой стороны детали изделия самоисчезающим мелком или маркером — линия притачивания листочки и, на расстоянии 1,5 см от неё. линия притачивания мешковины кармана.
Способы разметки деталей выкройки на ткани
Шаг 10
На детали листочки выполните разметку по её ширине (в данном случае ширина листочки 3 см).
Припуск подрежьте до ширины в 1 см.
Шаг 11
Деталь листочки наложите на деталь, совместив разметку.
Приколите и притачайте, выполнив закрепки в начале и в конце строчки.
Шаг 12
Одну деталь мешковины кармана наложите на деталь изделия (под деталь листочки), совместив разметку.
При этом строчка притачивания детали мешковины кармана должна быть короче строчки притачивания детали листочки на 5 мм по обеим сторонам.
Шаг 13
Деталь мешковины кармана приколите и притачайте по разметке, в начале и в конце строчки выполните закрепки.
Обработка кармана с клапаном в шве
Шаг 14
Вторую деталь мешковины кармана наложите поверх листочки лицевой стороной.
Приколите (или приметайте) и притачайте точно в шов притачивания листочки, при этом строчку проложите с изнаночной стороны детали изделия.
Шаг 15
На детали изделия выполните разрез для входа в карман между строчками притачивания детали листочки и мешковины кармана точно посередине.
Разрез должен быть меньше короткой строчки на 1 см с каждой стороны.
С лицевой стороны детали изделия отверните припуски мешковин кармана и листочки и выполните косые разрезы, не доходя до уголков 1 мм.
Детали мешковин кармана выверните через разрез на изнаночную сторону детали изделия.
Припуск мешковины кармана вместе с припуском детали листочки заутюжьте вниз.
Шаг 16
Уголки разреза выверните на изнаночную сторону, при этом листочку приколите или приметайте.
Сколите детали мешковины.
Одной строчкой застрочите уголки разреза по разметке и стачайте мешковины кармана.
В начале и в конце строчки выполните закрепки.
Шаг 17
С лицевой стороны основной детали зафиксируйте края листочки — выполните отстрочку на швейной машинке или подшейте вручную потайным стежком, либо выполните бисерный стежок.
Как выполнить карман в джинсовом стиле: мастер-класс + видео
Любые сложные элементы и отдельные детали всегда выполняйте сначала на образце, и только затем на основном изделии.

Если вы хотите сшить жакет по всем правилам — с прорезными карманами с листочкой, с лацканами и воротником и шлицей, приглашаем вас в Академию Burda на онлайн-курс по пошиву классического двубортного жакета.
Закругленный карман-портфель
На бумажной выкройке кармана начертите линию планки вдоль внешнего края кармана и на расстоянии ок. 4 см от него (1). Планку переснимите с детали кармана как отдельную деталь. Карман и планку выкроите из ткани с припусками на швы по всем срезам: карман выкроите один раз, а планку- два раза.
Припуск по верхнему срезу кармана и каждой планки обметать, заутюжить на изнанку и настрочить. Припуск по внешнему срезу одной планки обметать и заутюжить на изнаночную сторону. Планки сложить лицом к лицу и стачайть внутренние срезы. Припуски шва обметать вместе (2).
Планку с необработанным внешним срезом приколите к карману лицом к лицу. Притачайте. Припуски шва срежьте близко к строчке, на участках скруглений надсеките (3). Планку заметайте на изнаночную сторону. Край приутюжьте и отстрочите в край. По желанию край можно отстрочить дополнительно на большем расстоянии, не прихватывая при этом планку с заутюженным внешним краем.
Карман приколоть к изделию и настрочить в край только лежащую снизу планку. По желанию нижнюю планку можно настрочить дополнительно на большем расстоянии. Нижнюю планку настрочить с каждой стороны от верхнего края вдоль внутреннего шва на длину по ок. 3 см. Затем настрочить боковые края кармана от верхнего края на длину по ок. 3 см точно в шов (4).
Виды листочки
Такая конструкция служит для обработки края кармана одежды, его усиления и декорирования. Листочка(планка) может быть прямоугольной или фигурной формы. По методу вшивания можно выделить два варианта листочки.
С втачными концами
Этот вид более прост в установке и поэтому лучше подходит для начинающих мастериц. При данном способе все швы остаются с изнаночной стороны. А неширокая планка проходит параллельно нижнему слою.

С настроченными концами
Он чаще всего применяется для верхней одежды. Визуально от первого эта вариация отличается внешними отделочными строчками с нескольких сторон. А также способом их изготовления. Такая планка зачастую имеет достаточную ширину для установки фиксирующего механизма: петли для пуговицы, кнопки и так далее.

Обработка кармана с листочкой
Для каждого вида обработка будет немного отличаться друг от друга, поэтому рассмотрим их по отдельности пошагово.
Вариация с настрочными краями
Для ее установки проводим подготовительные работы, как написано выше. Далее следуем изложенному ниже порядку действий.
- Заготовку планки укладывают открытым краем к линии прорезания кармана.
- Сверху помещают одну деталь внутренней части кармана.
- Прострачивают конструкцию, при этом начинают и заканчивают шов на уровне узких сторон листочки.
- Чуть выше линии разреза пристрачивают вторую внутреннюю часть.
- Разрезать карман.
- Внутреннюю часть заправить наизнанку.
- Соединить внутренние детали кармана.
- Выполнить отстрочку планки и кармана.

Вариация с втачными краями
Предварительный этап проводится тем же способом. Затем выполнить следующие действия.
- Листочку притачать к внутренней части кармана.
- Шов расправить и заутюжить.
- Пришить часть с листочкой и вторую внутреннюю часть по обеим сторонам разметки разреза.
- Выполнить разрезание ткани.
- Вывернуть детали кармана на изнаночную сторону.
- Расправить все элементы и сшить обе части, при этом закрепив концы листочки двойной строчкой.
- Отутюжить конструкцию.

Обработка кармана с листочкой
Для каждого вида обработка будет немного отличаться друг от друга, поэтому рассмотрим их по отдельности пошагово.
Вариация с настрочными краями
Для ее установки проводим подготовительные работы, как написано выше. Далее следуем изложенному ниже порядку действий.
- Заготовку планки укладывают открытым краем к линии прорезания кармана.
- Сверху помещают одну деталь внутренней части кармана.
- Прострачивают конструкцию, при этом начинают и заканчивают шов на уровне узких сторон листочки.
- Чуть выше линии разреза пристрачивают вторую внутреннюю часть.
- Разрезать карман.
- Внутреннюю часть заправить наизнанку.
- Соединить внутренние детали кармана.
- Выполнить отстрочку планки и кармана.
![]()
Вариация с втачными краями
Предварительный этап проводится тем же способом. Затем выполнить следующие действия.
- Листочку притачать к внутренней части кармана.
- Шов расправить и заутюжить.
- Пришить часть с листочкой и вторую внутреннюю часть по обеим сторонам разметки разреза.
- Выполнить разрезание ткани.
- Вывернуть детали кармана на изнаночную сторону.
- Расправить все элементы и сшить обе части, при этом закрепив концы листочки двойной строчкой.
- Отутюжить конструкцию.

Варианты, способы, технология пришивания
Изначально важно не только определиться с тем, как сшить карман, но и как пришить деталь к вещи. Есть несколько особенно популярных технологий, которые несложные в своем исполнении
Выбрать правильный вариант можно по соответствию стилистике самого наряда.
Вам это будет интересно Построение выкройки рукавов для платьев
Первый способ «от кутюр»: прокладка
Такой тип притачивания особенно популярен у мастеров. Применяется для пришивания детали на пальто или куртку. Подготавливается лекало следующим образом:

Изготовление детали
Пошаговый алгоритм создания:
- Сначала изготавливается деталь из основного материала, потом из подкладки. Элементы накладываются друг на друга и скалываются английскими булавками. Нижний шов обрабатывается на швейной машинке.
- На изделии сделать разметку для размещения кармана. Булавками приколоть деталь и прошить на швейной машинке.
- Наметать основную часть кармана на подкладку, предварительно загнув припуски. Проутюжить деталь. Вручную пришить карман по контуру припусков к основе, используя скрытый шов.
Обратите внимание! Утюжить нужно изнутри, но не сверху, так как на ткани могут проступить все припуски и места наметок. Этап фиксации

Этап фиксации
Опытные швеи могут делать финальный шов на швейной машинке со специальной лапкой.
Второй способ: карман с обтачкой по верху и подкладкой
Сначала нужно подготовить выкройку из ткани и подкладки. Верхнюю часть обтачки, используя самый оптимальный тип строчки для выбранной ткани. Нужно отвернуть обтачку на внешнюю сторону по линии сгиба. Срезать 0,3 см снизу и с боков подкладки. Убрать ткань над линией сгиба.

Особенности притачивания кармана
Сложить детали, выровнять по центру и сколоть части поверху обтачки. Прострочить, но верхний край оставить открытым. Нужно подрезать и рассечь припуски на шов в тех местах, где проходит закругление. Сборка завершается после глажки.
Накладной карман с подкладкой, настроченный на изделие
Благодаря такой технологии обработки можно получить весьма объемный карман. Особенность заключается в последовательности работы. Шов здесь не обязательно должен быть скрытым:

Карман с пристроченной подкладкой на основу
Дополнительная информация! Размер детали подкладки должен быть на 1-2 см меньше основной детали.
Благодаря такому способу можно изготавливать ячейки для органайзера. Подходит он и для одежды.
Накладной карман с цельнокроеной обтачкой верхнего края
Цельнокроеная обтачка используется при изготовлении детали для рубашек и блуз. Производится работа следующим образом:
- Наметить на кармане линию отворота для верхней обтачки.
- Край обтачки обработать швом «зигзаг».
- Переложить обтачку верхней части на лицевую сторону.
- Застрочить деталь с боковых сторон.
- Вернуть обтачку вовнутрь и пристрочить к боковым частям элемента.
Вам это будет интересно Какие существуют ткани, аксессуары и фурнитура для шитья

Цельнокроеная обтачка вверху
Важно! В этом варианте стоит использовать уплотнитель, который не должен переходить линию формирования обтачки. Далее происходит пришивание готовой части к полотну
Делать это можно скрытым или открытым швом
Далее происходит пришивание готовой части к полотну. Делать это можно скрытым или открытым швом.
Накладной карман с кулиской по верхнему краю без подкладки в фантазийном стиле
Карман с кулиской по верхнему краю в фантазийном стиле без использования подкладки может использоваться для украшения многих изделий. Такой деталью можно украсить летнее платье, детскую футболку для девочки, пляжную сумку.
Как шить фантазийный вариант изделия:

Карман с кулиской
Сшивать такую делать с основным полотном можно по-разному. Лучше, если шов будет невидимым, чтобы не перекрывать драпировку, не деформировать саму форму.


![§ 8. обработка карманов [1973 антонов и.а., березина м.н. - технология изготовления мужских и детских пальто]](http://leather-school.ru/wp-content/uploads/f/2/3/f230881de1eab8290f6dd418125126ca.jpeg)



























